" /> Barriers Depending Voltage (VDR) - TN Elektro
Home > English > Barriers Depending Voltage (VDR)

Barriers Depending Voltage (VDR)

VDR is “Voltage Dependent Resistor” semiconductors in principle as a merger is anti-parallel on the series connection PN Junction. When a variable DC voltage is connected to the VDR regardless of the polarity, current flows cause the voltage across the PN Junction connected in series. Therefore, VDR has high voltage current low voltage and high voltage current low persistence.
image
Gambar.3.14 Parts VDR

Information:
a metal plate
b Zink oxid
c Metal oxid
d Material PVC
e Foot VDR

image
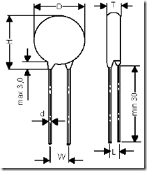
Figure 3.15. The physical size of VDR

Information :
D: Diameter
Q: Thick body VDR
H: High body VDR
W: Wide ranges foot
L: width deviation foot VDR
Units in mm.